平面磨削的特点
(1)周边磨削的特点 能减少工件受热所产生的变形,有利于提高工件的磨削精度。适用于精磨各种工件的平面,平面度误差...
(1)周边磨削的特点 能减少工件受热所产生的变形,有利于提高工件的磨削精度。适用于精磨各种工件的平面,平面度误差...
(1)卧轴矩台平面磨床 砂轮的主轴轴线与工作台台面平行,工件安装在矩形电磁吸盘上,并随工作台作纵向往复直线运动。砂...

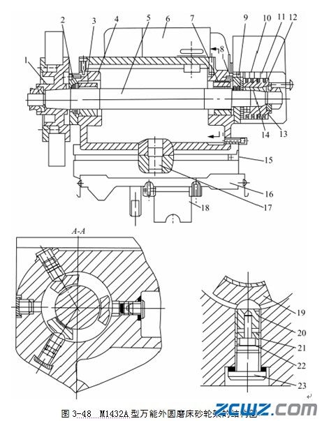
1.砂轮架 砂轮架由壳体、主轴及轴承、传动装置及滑鞍等组成。砂轮主轴及其支承部分的结构和性能,直接影响工件的加工精度和表...

M1432A型万能外圆磨床各部件的运动是由机械传动装置和液压传动装置联合传动来实现的。在该机床中,除了工作台的纵向往复运...

M1432A型万能外圆磨床主要用于磨削内外圆柱面、内外圆锥面、阶梯轴肩以及端面和简单的成形回转体表面等。它属于普通精度级...
采用磨料或非金属的磨具(如砂轮、砂带、油石和研磨剂等)对工件表面进行加工的机床称为磨床,它是为了适应工件精密加工而出现的...

2 冷墩冷墩不仅可以使钢材成型,还可使钢材在冷墩过程中成分更加均匀,有效减少缺陷(夹杂、偏析等不良组织)含量,使工件组...
一般轴类零件的装配基准是支承轴颈,轴上的各精密表面也均以其支承轴颈为设计基准,因此轴件上支承轴颈的精度最为重要,它的精度...
在对零件的加工工艺规程进行制订之前,应首先对零件进行工艺分析。其主要内容包括: (1)分析零件的作用及零件图上的技术...
机械加工工艺规程的制订原则是优质、高产、低成本,即在保证产品质量前提下,能尽量提高劳动生产率和降低成本。在制订工艺规程时...